主要零部件尺寸公差
二.帘板:
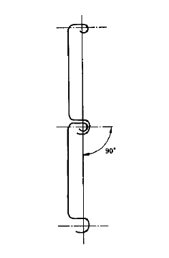
1.钢质防火卷帘相邻帘板串接后应转动灵活,摆动90°不允许脱落,如图2所示。
2.钢质防火卷帘帘板两端挡板或防窜机构应装配牢固,卷帘运行时相邻帘板窜动量不应大于2mm。
3.钢质防火卷帘的帘板应平直,装配成卷帘后,不允许有孔洞或缝隙存在。
4.钢质防火卷帘复合型帘板的两帘片连接应牢固,填充料填加应充实。
帘板串接后摆动示意图
三.无机纤维复合帘面:
1.无机纤维复合帘面拼接缝的个数每米内各层累计不应超过3条,且接缝应避免重叠。帘面上的受力缝应采用双线缝制,拼接缝的搭接量不应小于20mm。非受力缝可采用单线缝制,拼接缝处的搭接量不应小于10mm。
2.无机纤维复合帘面应沿帘布纬向每隔一定的间距设置耐高温不锈钢丝(绳),以承载帘面的自重;沿帘布经向设置夹板,以保证帘面的整体强度,夹板间距应为300mm~500mm。
3.无机纤维复合帘面上除应装夹板外,两端还应设防风钩。
4.无机纤维复合帘面不应直接连接于卷轴上,应通过固定件与卷轴相连。
四.导轨:
1.帘面嵌入导轨的深度应符合表7的规定。导轨间距距离超过表7规定,导轨间距离每增加1000mm时,每端嵌入深度应增加10mm。
2.导轨顶部应成圆弧形,以便于卷帘运行。
3.导轨的滑动面、侧向卷帘供滚轮滚动的导轨表面应光滑、平直。帘面、滚轮在导轨内运行时应平稳顺畅,不应有碰撞和冲击现象。
嵌入深度
| 导轨间距离 B | 每段嵌入深度 |
|---|---|
| B<3000 | >45 |
| 3000≤B<5000 | >50 |
| 5000≤B<9000 | >60 |
4.单帘面卷帘的两根导轨应互相平行,其平行度误差不应大于5mm;双帘面卷帘不同帘面的导轨也应相互平行,其平行度误差不应大于5mm。
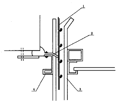
5.防火防烟卷帘的导轨内应设置防烟装置,防烟装置所用材料应为不燃或难燃材料,如图3所示,防烟装置与帘面应均匀紧密贴合,其贴合面长度不应小于导轨长度的80%。
导轨防烟装置示意图
1——帘面;2——防烟装置;3——导轨。
6.导轨现场安装应牢固,预埋钢件的间距为600mm~1000mm。垂直卷卷帘的导轨安装后相对于基础面的垂直度误差不应大于1.5mm/m,全长不应大于20mm。
五.门楣:
1.防火防烟卷帘的门楣内应设置防烟装置,防烟装置所用的材料应为不燃或难燃材料,如图4所示。防烟装置与帘面应均匀紧密贴合,其贴合面长度不应小于门楣长度80%,非贴合部位的缝隙不应大于2mm。
2.门楣现场安装应牢固,预埋钢件的间距为600mm~1000mm。
六.座板:
门楣防烟装置示意图

1——帘面;2——防烟装置;3——导轨;4——门楣。
1.座板与地面应平行、接触应均匀。
2.座板的刚度应大于卷帘帘面的刚度。座板与帘面之间的连接应牢固。
七.传动装置:
1.传动用滚子链和链轮的尺寸、公差及基本参数应符合GB/T 1243的规定,链条静强度、选用的许可安全系数应大于4。
2.传动机构、轴承、链条表面应无锈蚀,并应按要求加适量润滑剂。
3.垂直卷卷帘的卷轴在正常使用时的挠度应小于卷轴长度1/400。
4.侧向卷卷帘的卷轴安装时应与基础面垂直。垂直度误差应小于1.5mm/m。全长应小于5mm。
八.卷门机:
防火卷帘用卷门机应是经国家消防检测机构检测合格的定型配套产品,其性能应符合附录A的规定。
九.控制箱:
防火卷帘用控制箱应是经国家消防检测机构检测合格的定型配套产品,其性能应符合附录B的规定。
