乐动游戏平台为您释疑:防火门门扇与门框的搭接尺寸、防火门门扇与门框的配合活动间隙、防火门门扇与门框的贴合面间隙、防火门门的开面上门框与门扇的平面高低差等的测量方法、测量标准
一.门扇与门框的搭接尺寸(见图1):
1.按使用状态,将试件安装在试验框架上,门扇处于关闭状态,用划刀在门扇与门框相交的左边、右边和上边的中部划线作出标记后,用钢板尺测量搭接宽度。
2.门扇与门框的搭接宽度取测量值的最小值。
图1 门扇与门框的搭接尺寸和贴合面间隙示意图
二.门扇与门框的配合活动间隙:
按使用状态,将试件安装在试验框架上,门扇处于关闭状态,门扇与门框有合页一侧、有锁一侧,以及门扇与上框、下框,双扇、多扇门的门扇之间的活动间隙以塞尺最大插入厚度作
为测量值。
三.门扇与门框的贴合面间隙(见图2):
按使用状态,将试件安装在试验框架上,门扇处于关闭状态,门扇与门框贴合面间隙以塞尺最大插入厚度作为测量值。
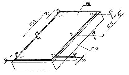
图2 门框与门扇平面高低差测量位置示意图
四.门的开面上门框与门扇的平面高低差(R):
(1)门扇关闭,用游标卡尺测定门框与门扇的平面高低差。测量位置见图15所标定的位置R1、R2、R3……R6。
(2)门框与门扇的平面高低差R取测量值的极值。
防火门其他相关检查和试验:
材料检验(填充材料、木材、人造板、钢材、其他材质材料、粘结剂)、 配件检验(防火锁、闭门器、合页(铰链)、顺序器、插销、盖缝板、密封件、玻璃)、 尺寸公差检查(门扇高度、门扇宽度、门扇厚度、门框内裁口高度、门框内裁口宽度、门框侧壁宽度)、 形位公差检查(两对角线长度、扭曲度、弯曲度)、 防火门灵活性、可靠试验、 耐火性能试验、
来源:GB 12955-2008 防火门 >>>
点此前往:防火门认证代理>>>
点此前往:防火门消防产品自愿性认证 操作详情>>>
