二.防烟性能:
(1)导轨和门楣:防火防烟卷帘导轨和门楣的防烟性能按7.3.4.3和7.3.5的规定进行测量。
(2)帘面漏烟量:
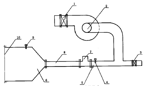
①.试验设备:帘面漏烟量试验设备示意图如图所示。试验设备包括以下几部分:
帘面漏烟量试验设备示意图

1——进气阀;2——引风机;3——旁通调节阀;4——压力传感器;5——温度计;6——连接管道;7——气体流量计;8——测量管道;9——压力传感器;10——试件。
a)连接管道:试件通过连接管道与气体流量计相连,连接管道的截面尺寸为1m×1m,轴向长度为2m。
b)测量管道和气体流量计:气体流量可采用标准孔板、漩涡流量计或其他流量测量仪表进行测量。气体流量计的测量精度应不低于±51/min。气体流量计安装在测量管道中。
c)压力传感器:测量并显示连接管道和测量管道内的气体压力,其测量精度应不低于±3Pa。
d)温度计:测量并显示测量管道内的气体温度,其测量精度应不低于±1℃。
e)引风机系统:包括引风机、进气阀、旁通调节阀和旁通管道。
②.试件:试件由帘面和框架组成。帘面有效面积为1m×1m,帘面安装在框架中,与框架的接触部分应密封。
③.试验步骤:
a)将试件安装在连接管道上,并用密封材料将试件密封。
b)调整各测量仪表,使其进入正常工作状态,启动引风机,调节进气阀和旁通调节阀,使试件前后的气体差压为20Pa±3Pa,待稳定后,测量并记录气体流量计的流量和气体流量计处的气体压力及温度。测量并记录此刻的大气压力。此时测得的流量为设备的漏烟量。
c)拆去试件的密封,调整进气阀和旁通调节阀,使试件前后的气体差仍保持为20Pa±3Pa,待稳定后,测量并记录气体流量计的流量和气体流量计处的气体压力及温度。测量并记录此刻的大气压力。此时测得的流量为总漏烟量。
d)试件漏烟量(帘面漏烟量)的计算:
式中:
Q——标准状态下试件的漏烟量,立方米为每平方米每分钟[m3/(m2·min)];
Q标1——标准状态下总漏烟量,立方米每平方米每分钟[m3/(m2·min)];
Q标0——标准状态下设备漏烟量,立方米每平方米每分钟[m3/(m2?min)];
Q1——实测总漏烟量,立方米每平方米每分钟[m3/(m2·min)];
T1——测总漏烟量时,测量管道内的气体温度,单位为摄氏度(℃);
B1——测总漏烟量时的大气压力,单位为帕(Pa);
P1——测总漏烟量时,流量计处的气体压力,单位为帕(Pa);
Q0——实测设备漏烟量,[m3/(m2·min)];
T0——测设备漏烟量时,测量管道内的气体温度,单位为摄氏度(℃);
B0——测设备漏烟量时的大气压力,单位为帕(Pa);
P0——测设备漏烟量时,流量计处的气体压力,单位为帕(Pa)。
三.运行平稳性能:
防火卷帘运行平稳性能采用目测进行检验。双帘面卷帘的两个帘面之间的高度差采用钢卷尺测量。
四.噪声:
防火卷帘在运行中的噪声采用声级计测量。声级计距卷帘表面的垂直距离为1m,距地面的垂直距离为1.5m,应水平测量3点,取平均值。
五.电动启闭及自重下降运行速度:
防火卷帘电动启、闭及自重下降的运行速度采用钢卷尺、秒表进行测量。
六.两步关闭性能:
防火卷帘两步关闭性能采用目测进行检验。延时时间采用秒表进行测量。
七.温控释放性能:
(1)温控释放装置动作温度:选择3套温控释放装置,按GB 15930—1995中5.1的规定进行试验,温控释放装置动作温度全部合格,判为动作温度合格,否则判为不合格。
注:能提供有效检验报告的,可不做该项试验。
(2)温控释放装置联动性能:防火卷帘安装并调试完毕后,开启至上限,切断电源,加热温控释放装置,使其感温元件动作,观察卷帘下降关闭情况。
八.耐火性能:
防火卷帘的耐火极限按GB/T 7633的规定进行试验。其中钢质防火卷帘和无机纤维复合防火卷帘的耐火极限按GB/T 7633的规定测其耐火完整性;特级防火卷帘的耐火极限按GB/T 7633的规定测其耐火完整性和隔热性。
注:若受检方或委托方要求测试卷帘背火面热辐射强度,可按GB/T 7633的有关规定或受检方或委托方提供的方法进行检测,其结果不作为卷帘防火性能的判定依据。
